3-11. LASER OPERATION AND USES
a. How does the light amplification by the stimulated emission of radiation (laser)
work? We must obtain a lasing material, an energy source to excite the atoms, a fully
reflecting mirror, and a partially reflecting mirror before we can put our laser into
operation.
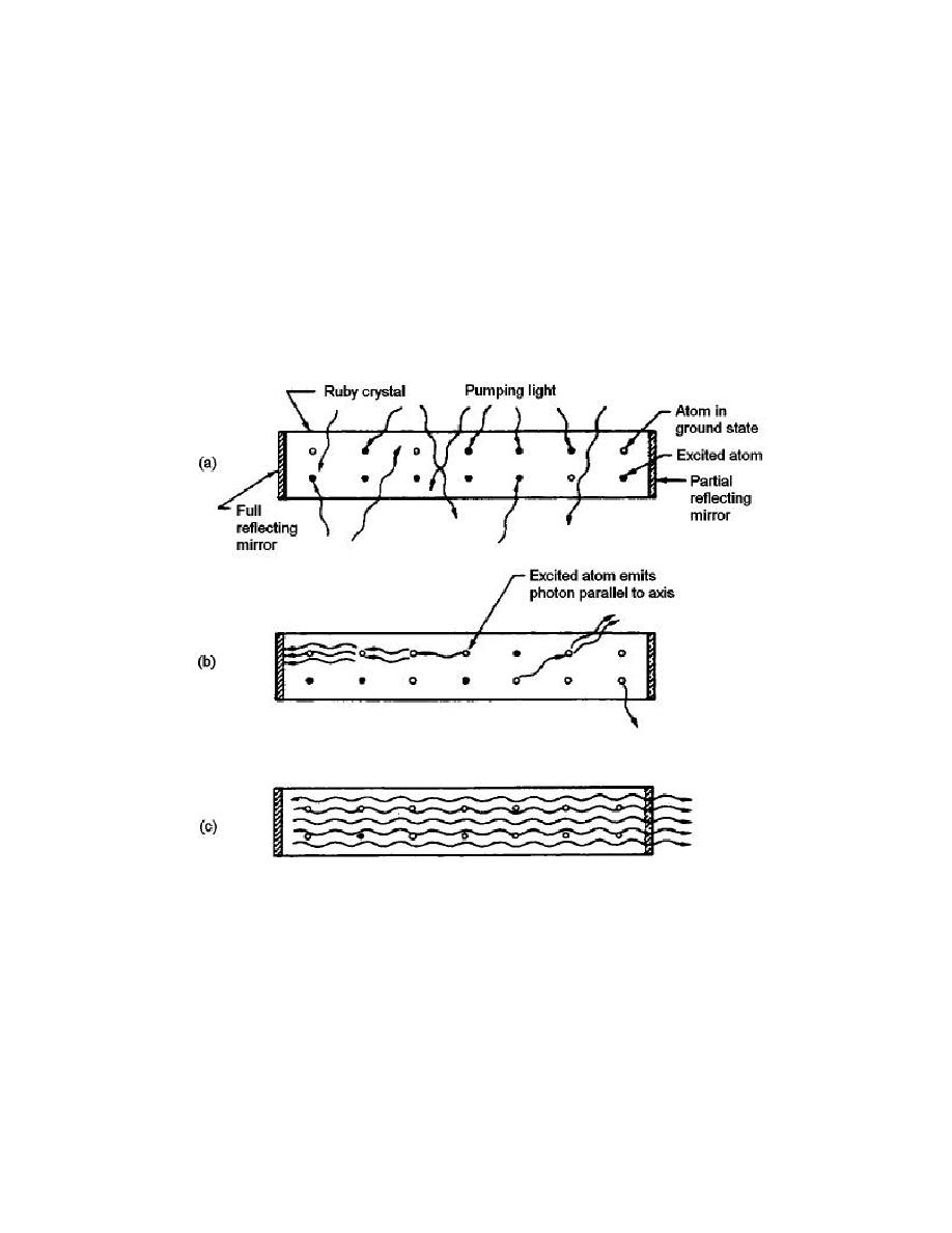
b. Looking at the figure below (Figure 3-2), we show a laser crystal containing
many atoms in a ground state (white dots) and a few in the excited state (black dots).
The pumping light, or energy source (wavy arrows in A), raises most of the atoms to the
excited state, creating a population inversion--that is, more atoms in the excited state
than the ground state.
A - Pumping light raises many atoms to excited state.
B - Lasing begins when a photon is spontaneously emitted along the axis of the
crystal. This stimulates other atoms in its path to emit.
C - The resulting wave is reflected back and forth many times between the ends of
the crystal and builds in intensity until finally it flashes out of the partially silvered
end.
Figure 3-2. Sequence of operations in a solid crystal laser.
MD0180
3-8