Home
Download PDF
Order CD-ROM
Order in Print
Home
>
Medical Reference and Training Manuals
>
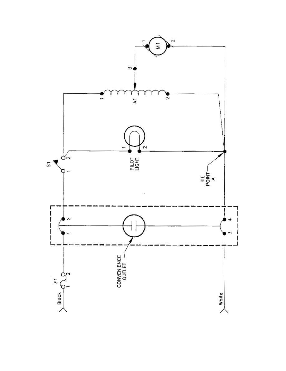
> Figure 1-1. Schematic wiring diagram of the Emerson 55-JS suction apparatus. - SuctionPressure Apparatus
Lesson 1: high-Volume Suction Apparatus - SuctionPressure Apparatus
Section II. Maintenance and Repair Procedures - SuctionPressure Apparatus - MD03650009
Suction/Pressure Apparatus
Page Navigation
1
2
3
4
5
6
7
Figure
1-1.
Schematic
wiring
diagram
of
the
Emerson
55-JS
suction
apparatus.
MD0365
1-3