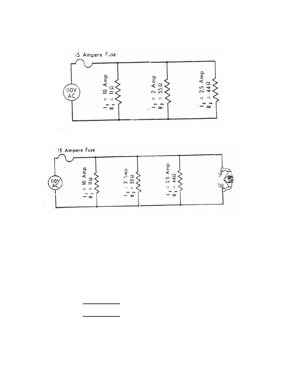
Figure 4-1. Representative parallel circuit.
Figure 4-2. Representative parallel circuit with human body added as one element.
4-3.
SEVERITY OF ELECTRICAL SHOCK
The severity of an electrical shock is primarily determined by the amount of
current and the area of the body that is involved.
a. Effects of Amperage. No medical authority will state the minimum amount
of current required to kill because there are many factors involved.
(1) However, some approximate values of electrical current and their
associated physiological effects are:
(a) 0.001 amperes. Threshold of perception. Sensation of tingling.
(b) 0.016 amperes. "Can't-let-go" current. Level of current where
subject is unable to release grip on the electrical conductor.
MD0950
4-3